

Silver ou noir
Uniquement CD (pas de prise en charge du format SACD)
Silver ou noir
Uniquement CD (pas de prise en charge du format SACD)
Avec le transport CD CEC TL 2N, les avancées des précédents systèmes d’entraînement à double courroie ont été plus affinées encore que ce que CEC imaginait possible. Le mécanisme d’entraînement est entièrement nouveau et a été installé pour être centré sur un châssis en aluminium plus grand pour une stabilisation accrue de la rotation et aucun ajustement de la hauteur du mécanisme. Le volant d’inertie de précision de grand diamètre améliore la précision de lecture du signal musical. Les détails, la richesse des tons et les informations spatiales sont à couper le souffle.
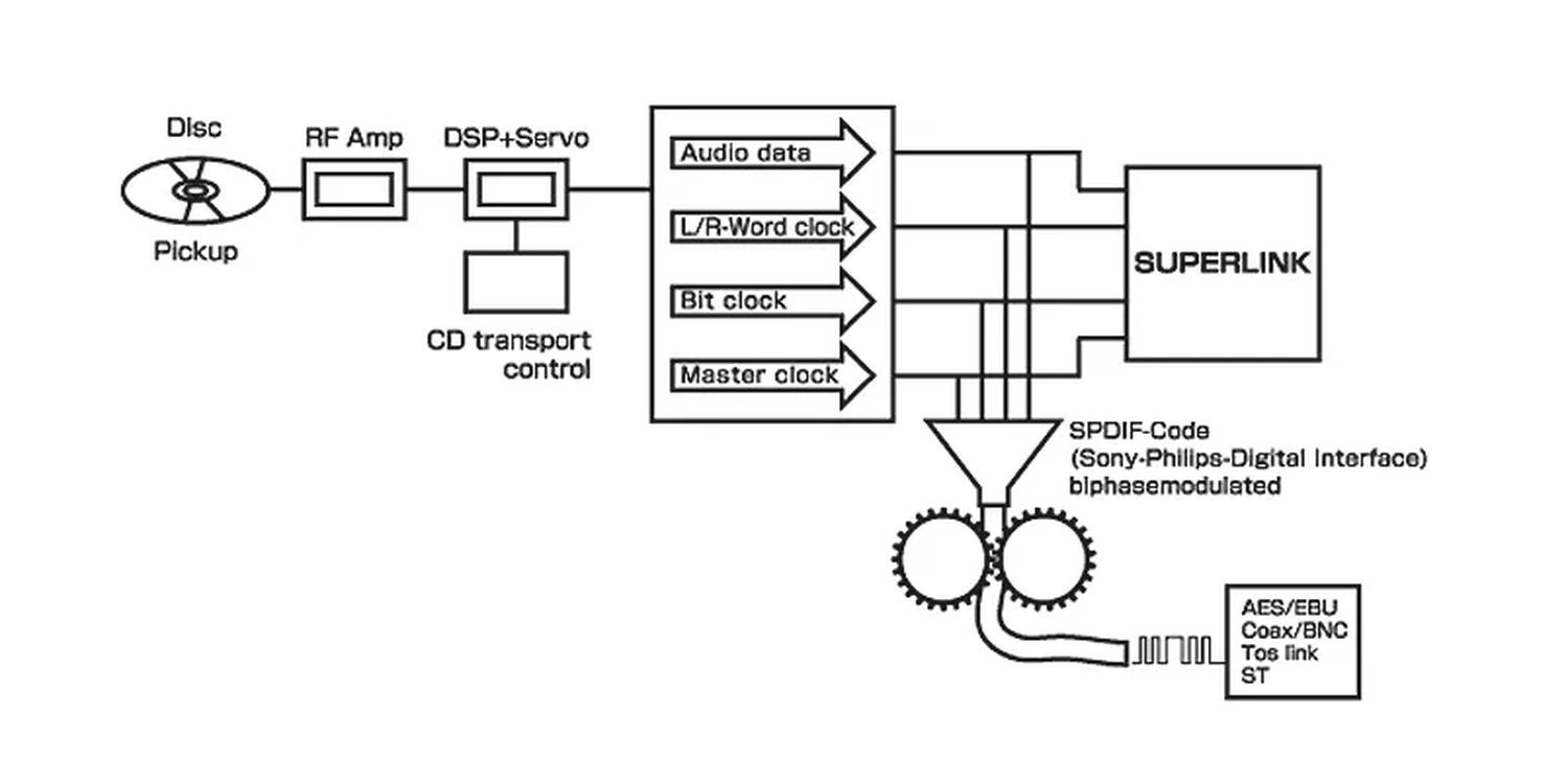
Le système propriétaire de connexion entre les transports de CD et les DAC de la marque CEC permettent, d’après son concepteur, d’être encore plus performant que les connecteurs S/PDIF en RCA et en AES/EBU : voir le schéma dans les photos du produit pour comprendre son architecture.
La fréquence d’échantillonnage des CD est de 44,1 kHz qui peut être suréchantillonné par le CD CEC TL 2N à 88,2 kHz ou jusqu’à 176,4 kHz en utilisation avec des DACs d’autres marques puisque la liaison propriétaire CEC SUPERLINK ne permet pas le suréchantillonnage.
En effet, le système CEC SUPERLINK transmet les signaux musicaux et les signaux d’horloge de synchronisation séparément avec 4 câbles BNC 75Ω, ne nécessitant aucun processus de codage/décodage pour la transmission de données, et utilisant l’horloge maître générée par le convertisseur N/A pour réaliser une synchronisation en boucle fermée. Le système de transmission minimise la détérioration du signal musical et la gigue.
| Système | Double courroies |
| CD compatibles |
CD audio CD-R / CD-RW finalisés |
| Alimentation | AC 230 / 120 V, 50–60 Hz |
| Stabilisateur |
Laiton, diamètre 120 mm Poids : 380 g |
| Sorties numériques |
SUPERLINK × 1 : 2,5 Vp-p / 75 Ω (BNC × 4) AES/EBU × 1 : 2,5 Vp-p / 110 Ω (pin 2 = hot) Coaxial × 1 : 0,5 Vp-p / 75 Ω TosLink × 1 : –21 à –15 dBm (EIAJ) |
| Entrée horloge | BNC × 1 : 44,1 kHz |
| Suréchantillonnage |
24 bits / 88,2 kHz 24 bits / 176,4 kHz |
| Consommation | 21 W |





Copyright 2021|2026 - Tous droits réservés